HOME >> Services >> Partners >> FAG Bearing
FAG Bearing
IKO Bearing
INA Bearing
KOYO Bearing
NACHI Bearing
NSK Bearing
NTN Bearing
SKF Bearing
TIMKEN Bearing

Bearing number : NU1026-M1
Size (mm) : 130x200x33
Brand : FAG
Bore Diameter (mm) : 130
Outer Diameter (mm) : 200
Width (mm) : 33
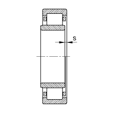
d - 130 mm
D - 200 mm
B - 33 mm
D1 - 175,9 mm
Da max - 191 mm
da max - 146 mm
da min - 136 mm
db min - 151 mm
E - 182 mm
F - 148 mm
r1 min - 1,1 mm
ra max - 2 mm
ra1 max - 1 mm
rmin - 2 mm
s - 3,9 mm / Axial displacement facility from central position
m - 3,74 kg / Weight
Cr - 212000 N / Dynamic load rating (radial)
C0r - 250000 N / Static load rating (radial)
nG - 5700 1/min / Limiting speed
nB - 3500 1/min
Cur - 31500 N / Fatigue limit load, radial
Main dimensions to DIN 5412-1, non-locating bearing, separable, with cage