HOME >> Services >> Partners >> FAG Bearing
FAG Bearing
IKO Bearing
INA Bearing
KOYO Bearing
NACHI Bearing
NSK Bearing
NTN Bearing
SKF Bearing
TIMKEN Bearing

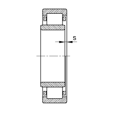
Bearing number : NU1088-TB-M1
Size (mm) : 440x650x94
Brand : FAG
Bore Diameter (mm) : 440
Outer Diameter (mm) : 650
Width (mm) : 94
d - 440 mm
D - 650 mm
B - 94 mm
D1 - 576,2 mm
Da max - 627 mm
da max - 488 mm
da min - 463 mm
db min - 498 mm
E - 597 mm
F - 493 mm
r1 min - 6 mm
ra max - 5 mm
ra1 max - 5 mm
rmin - 6 mm
s - 9,8 mm / Axial displacement facility from central position
m - 107 kg / Weight
Cr - 1560000 N / Dynamic load rating (radial)
C0r - 2750000 N / Static load rating (radial)
nG - 1600 1/min / Limiting speed
nB - 860 1/min
Cur - 182000 N / Fatigue limit load, radial
Main dimensions to DIN 5412-1, non-locating bearing, separable, with cage