HOME >> Services >> Partners >> FAG Bearing
FAG Bearing
IKO Bearing
INA Bearing
KOYO Bearing
NACHI Bearing
NSK Bearing
NTN Bearing
SKF Bearing
TIMKEN Bearing

Bearing number : 22334-E1-JPA-T41A
Size (mm) : 170x360x120
Brand : FAG
Bore Diameter (mm) : 170
Outer Diameter (mm) : 360
Width (mm) : 120
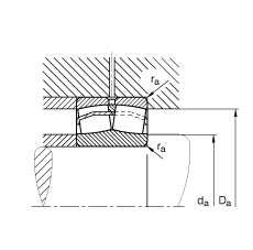
d - 170 mm
D - 360 mm
B - 120 mm
D1 - 303,9 mm
Da max - 343 mm
d2 - 213,1 mm
da min - 187 mm
ds - 9,5 mm
ns - 17,7 mm
ra max - 3 mm
rmin - 4 mm
m - 58,2 kg / Weight
Cr - 1870000 N / Dynamic load rating (radial)
e - 0,35
Y1 - 1,95
Y2 - 2,9
C0r - 2220000 N / Static load rating (radial)
Y0 - 1,91
nG - 2130 1/min / Limiting speed
nB - 1350 1/min
Cur - 173000 N / Fatigue limit load, radial