HOME >> Services >> Partners >> FAG Bearing
FAG Bearing
IKO Bearing
INA Bearing
KOYO Bearing
NACHI Bearing
NSK Bearing
NTN Bearing
SKF Bearing
TIMKEN Bearing

Bearing number : 23040-E1-TVPB
Size (mm) : 200x310x82
Brand : FAG
Bore Diameter (mm) : 200
Outer Diameter (mm) : 310
Width (mm) : 82
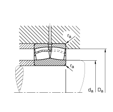
d - 200 mm
D - 310 mm
B - 82 mm
D1 - 281,6 mm
Da max - 299,8 mm
d2 - 223,4 mm
da min - 210,2 mm
ds - 8 mm
ns - 15 mm
ra max - 2,1 mm
rmin - 2,1 mm
m - 21,5 kg / Weight
Cr - 1270000 N / Dynamic load rating (radial)
e - 0,23
Y1 - 2,9
Y2 - 4,31
C0r - 1800000 N / Static load rating (radial)
Y0 - 2,83
nG - 2330 1/min / Limiting speed
nB - 1580 1/min
Cur - 203000 N / Fatigue limit load, radial
Main dimensions to DIN 635-2