HOME >> Services >> Partners >> FAG Bearing
FAG Bearing
IKO Bearing
INA Bearing
KOYO Bearing
NACHI Bearing
NSK Bearing
NTN Bearing
SKF Bearing
TIMKEN Bearing

Bearing number : 23044-E1
Size (mm) : 220x340x90
Brand : FAG
Bore Diameter (mm) : 220
Outer Diameter (mm) : 340
Width (mm) : 90
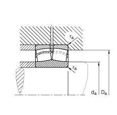
d - 220 mm
D - 340 mm
B - 90 mm
D1 - 304,5 mm
Da max - 327,6 mm
d2 - 248,8 mm
da min - 232,4 mm
ds - 8 mm
ns - 15 mm
ra max - 2,5 mm
rmin - 3 mm
m - 28,53 kg / Weight
Cr - 1260000 N / Dynamic load rating (radial)
e - 0,24
Y1 - 2,81
Y2 - 4,19
C0r - 1900000 N / Static load rating (radial)
Y0 - 2,75
nG - 2230 1/min / Limiting speed
nB - 1470 1/min
Cur - 177000 N / Fatigue limit load, radial
Main dimensions to DIN 635-2