HOME >> Services >> Partners >> FAG Bearing
FAG Bearing
IKO Bearing
INA Bearing
KOYO Bearing
NACHI Bearing
NSK Bearing
NTN Bearing
SKF Bearing
TIMKEN Bearing

Bearing number : 23126-E1-TVPB
Size (mm) : 130x210x64
Brand : FAG
Bore Diameter (mm) : 130
Outer Diameter (mm) : 210
Width (mm) : 64
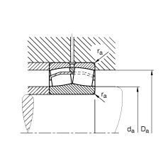
d - 130 mm
D - 210 mm
B - 64 mm
D1 - 187,3 mm
Da max - 199 mm
d2 - 146 mm
da min - 141 mm
ds - 4,8 mm
ns - 9,5 mm
ra max - 2 mm
rmin - 2 mm
m - 8,1 kg / Weight
Cr - 680000 N / Dynamic load rating (radial)
e - 0,28
Y1 - 2,45
Y2 - 3,64
C0r - 890000 N / Static load rating (radial)
Y0 - 2,39
nG - 3200 1/min / Limiting speed
nB - 2140 1/min
Cur - 79000 N / Fatigue limit load, radial
Main dimensions to DIN 635-2