HOME >> Services >> Partners >> FAG Bearing
FAG Bearing
IKO Bearing
INA Bearing
KOYO Bearing
NACHI Bearing
NSK Bearing
NTN Bearing
SKF Bearing
TIMKEN Bearing

Bearing number : 234410-M-SP
Size (mm) : 50x80x38
Brand : FAG
Bore Diameter (mm) : 50
Outer Diameter (mm) : 80
Width (mm) : 38
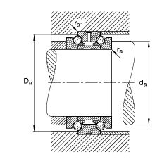
d - 50 mm
D - 80 mm
B - 38 mm
B1 - 9,5 mm
C - 19 mm
Da - 75 mm / Tolerance: H12
d1 - 70 mm
da - 62,5 mm / Tolerance: h12
ds - 3,2 mm
ns - 4,8 mm
r1 min - 0,15 mm
ra max - 1 mm
ra1 max - 0,15 mm
rmin - 1 mm
α - 60 ° / Angle
m - 0,485 kg / Weight
Ca - 26000 N / Dynamic load rating (axial)
C0a - 72000 N / Static load rating (axial)
nG Fett - 7000 1/min / Limiting speed for grease lubrication
nG Ol - 9500 1/min / Limiting speed for minimal quantity oil lubrication
Cua - 6500 N / Fatigue limit load, axial