HOME >> Services >> Partners >> FAG Bearing
FAG Bearing
IKO Bearing
INA Bearing
KOYO Bearing
NACHI Bearing
NSK Bearing
NTN Bearing
SKF Bearing
TIMKEN Bearing

Bearing number : 234418-M-SP
Size (mm) : 90x140x60
Brand : FAG
Bore Diameter (mm) : 90
Outer Diameter (mm) : 140
Width (mm) : 60
d - 90 mm
D - 140 mm
B - 60 mm
B1 - 15 mm
C - 30 mm
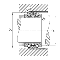
Da - 130,5 mm / Tolerance: H12
d1 - 123 mm
da - 110,5 mm / Tolerance: h12
ds - 4,8 mm
ns - 9,5 mm
r1 min - 0,3 mm
ra max - 1,5 mm
ra1 max - 0,3 mm
rmin - 1,5 mm
α - 60 ° / Angle
m - 2,45 kg / Weight
Ca - 66000 N / Dynamic load rating (axial)
C0a - 213000 N / Static load rating (axial)
nG Fett - 4000 1/min / Limiting speed for grease lubrication
nG Ol - 5300 1/min / Limiting speed for minimal quantity oil lubrication
Cua - 17700 N / Fatigue limit load, axial