HOME >> Services >> Partners >> FAG Bearing
FAG Bearing
IKO Bearing
INA Bearing
KOYO Bearing
NACHI Bearing
NSK Bearing
NTN Bearing
SKF Bearing
TIMKEN Bearing

Bearing number : 234420-M-SP
Size (mm) : 100x150x60
Brand : FAG
Bore Diameter (mm) : 100
Outer Diameter (mm) : 150
Width (mm) : 60
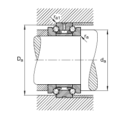
d - 100 mm
D - 150 mm
B - 60 mm
B1 - 15 mm
C - 30 mm
Da - 140,5 mm / Tolerance: H12
d1 - 133 mm
da - 120,5 mm / Tolerance: h12
ds - 4,8 mm
ns - 9,5 mm
r1 min - 0,3 mm
ra max - 1,5 mm
ra1 max - 0,3 mm
rmin - 1,5 mm
α - 60 ° / Angle
m - 2,66 kg / Weight
Ca - 67000 N / Dynamic load rating (axial)
C0a - 226000 N / Static load rating (axial)
nG Fett - 3800 1/min / Limiting speed for grease lubrication
nG Ol - 5000 1/min / Limiting speed for minimal quantity oil lubrication
Cua - 18100 N / Fatigue limit load, axial