HOME >> Services >> Partners >> FAG Bearing
FAG Bearing
IKO Bearing
INA Bearing
KOYO Bearing
NACHI Bearing
NSK Bearing
NTN Bearing
SKF Bearing
TIMKEN Bearing

Bearing number : 234734-M-SP
Size (mm) : 176x260x108
Brand : FAG
Bore Diameter (mm) : 176
Outer Diameter (mm) : 260
Width (mm) : 108
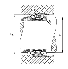
d - 176 mm
D - 260 mm
B - 108 mm
B1 - 27 mm
C - 54 mm
Da - 245 mm / Tolerance: H12
d1 - 230 mm
da - 206,5 mm / Tolerance: h12
ds - 8 mm
ns - 15 mm
r1 min - 0,6 mm
ra max - 2,1 mm
ra1 max - 0,6 mm
rmin - 2,1 mm
α - 60 ° / Angle
m - 14,6 kg / Weight
Ca - 207000 N / Dynamic load rating (axial)
C0a - 740000 N / Static load rating (axial)
nG Fett - 2200 1/min / Limiting speed for grease lubrication
nG Ol - 3200 1/min / Limiting speed for minimal quantity oil lubrication
Cua - 45500 N / Fatigue limit load, axial