HOME >> Services >> Partners >> FAG Bearing
FAG Bearing
IKO Bearing
INA Bearing
KOYO Bearing
NACHI Bearing
NSK Bearing
NTN Bearing
SKF Bearing
TIMKEN Bearing

Bearing number : 24056-E1
Size (mm) : 280x420x140
Brand : FAG
Bore Diameter (mm) : 280
Outer Diameter (mm) : 420
Width (mm) : 140
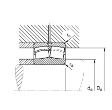
d - 280 mm
D - 420 mm
B - 140 mm
D1 - 370,5 mm
Da max - 405,4 mm
d2 - 310,3 mm
da min - 294,6 mm
ds - 6,3 mm
ns - 12,2 mm
ra max - 3 mm
rmin - 4 mm
m - 70,6 kg / Weight
Cr - 2290000 N / Dynamic load rating (radial)
e - 0,3
Y1 - 2,23
Y2 - 3,32
C0r - 3950000 N / Static load rating (radial)
Y0 - 2,18
nG - 1420 1/min / Limiting speed
nB - 810 1/min
Cur - 360000 N / Fatigue limit load, radial
Main dimensions to DIN 635-2