HOME >> Services >> Partners >> FAG Bearing
FAG Bearing
IKO Bearing
INA Bearing
KOYO Bearing
NACHI Bearing
NSK Bearing
NTN Bearing
SKF Bearing
TIMKEN Bearing

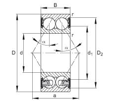
Bearing number : 3204-BD-2HRS-TVH
Size (mm) : 20x47x20.6
Brand : FAG
Bore Diameter (mm) : 20
Outer Diameter (mm) : 47
Width (mm) : 20,6
d - 20 mm
D - 47 mm
B - 20,6 mm
a - 27,868 mm
D2 - 42,3 mm
Da max - 41,4 mm
d1 - 29,3 mm
da min - 25,6 mm
ra max - 1 mm
rmin - 1 mm
α - 30 ° / Angle
m - 0,15 kg / Weight
Cr - 20600 N / Dynamic load rating (radial)
C0r - 12900 N / Static load rating (radial)
Cur - 870 N / Fatigue limit load, radial
nG - 9800 1/min / Limiting speed
nB - 15000 1/min / Reference speed
Main dimensions to DIN 628-3, double row, lip seal on both side, Angle α = 30°