HOME >> Services >> Partners >> FAG Bearing
FAG Bearing
IKO Bearing
INA Bearing
KOYO Bearing
NACHI Bearing
NSK Bearing
NTN Bearing
SKF Bearing
TIMKEN Bearing

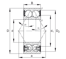
Bearing number : 3211-BD-2HRS-TVH
Size (mm) : 55x100x33.3
Brand : FAG
Bore Diameter (mm) : 55
Outer Diameter (mm) : 100
Width (mm) : 33,3
d - 55 mm
D - 100 mm
B - 33,3 mm
a - 58,4 mm
D2 - 90,8 mm
Da max - 91 mm
d1 - 69,2 mm
da min - 64 mm
ra max - 1,5 mm
rmin - 1,5 mm
α - 30 ° / Angle
m - 0,933 kg / Weight
Cr - 61000 N / Dynamic load rating (radial)
C0r - 51000 N / Static load rating (radial)
Cur - 3450 N / Fatigue limit load, radial
nG - 4150 1/min / Limiting speed
nB - 7200 1/min / Reference speed
Main dimensions to DIN 628-3, double row, lip seal on both side, Angle α = 30°