HOME >> Services >> Partners >> FAG Bearing
FAG Bearing
IKO Bearing
INA Bearing
KOYO Bearing
NACHI Bearing
NSK Bearing
NTN Bearing
SKF Bearing
TIMKEN Bearing

Bearing number : 22213-E1
Size (mm) : 65x120x31
Brand : FAG
Bore Diameter (mm) : 65
Outer Diameter (mm) : 120
Width (mm) : 31
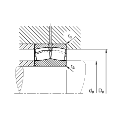
d - 65 mm
D - 120 mm
B - 31 mm
D1 - 107,3 mm
Da max - 111 mm
d2 - 79,1 mm
da min - 74 mm
ds - 3,2 mm
ns - 6,5 mm
ra max - 1,5 mm
rmin - 1,5 mm
m - 1,55 kg / Weight
Cr - 202000 N / Dynamic load rating (radial)
e - 0,24
Y1 - 2,81
Y2 - 4,19
C0r - 210000 N / Static load rating (radial)
Y0 - 2,75
nG - 7000 1/min / Limiting speed
nB - 4400 1/min
Cur - 25500 N / Fatigue limit load, radial
Main dimensions to DIN 635-2