HOME >> Services >> Partners >> FAG Bearing
FAG Bearing
IKO Bearing
INA Bearing
KOYO Bearing
NACHI Bearing
NSK Bearing
NTN Bearing
SKF Bearing
TIMKEN Bearing

Bearing number : HCB7214-C-T-P4S
Size (mm) : 70x125x24
Brand : FAG
Bore Diameter (mm) : 70
Outer Diameter (mm) : 125
Width (mm) : 24
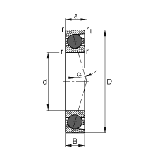
d - 70 mm
D - 125 mm
B - 24 mm
a - 25 mm
Da - 115 mm / Tolerance: H12
da - 80 mm / Tolerance: h12
r1 min - 1,5 mm
ra max - 1,5 mm
ra1 max - 1,5 mm
rmin - 1,5 mm
α - 15 ° / Angle
m - 0,954 kg / Weight
Cr - 71000 N / Dynamic load rating (radial)
C0r - 29000 N / Static load rating (radial)
nG Fett - 14000 1/min / Limiting speed for grease lubrication
nG Ol - 22000 1/min / Limiting speed for minimal quantity oil lubrication
Cur - 3000 N / Fatigue limit load, radial